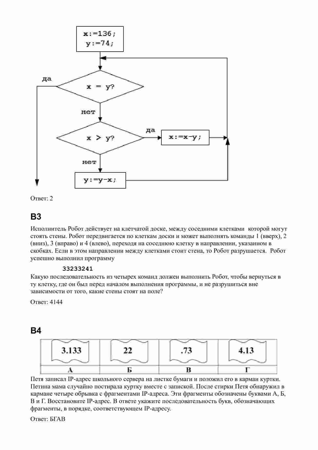
ЕГЭ 2011 Информатика 11 класс Авторский тренировочный вариант к экзамену с ответами читать бесплатно

Краткое изложение пособия: "Подготовьтесь к ЕГЭ по информатике с помощью уникального авторского тренировочного варианта! Книга "ЕГЭ 2011 Информатика 11 класс Авторский тренировочный вариант к экзамену с ответами" предоставляет вам уникальную возможность подготовиться к экзамену, используя задания, созданные опытными экспертами. Этот тренировочный вариант включает в себя разнообразные задачи, охватывающие все ключевые темы информатики. Книга также предоставляет полные и подробные ответы к каждому заданию, что поможет вам лучше понять, как правильно решать задачи. Не упустите шанс максимально подготовиться к ЕГЭ по информатике. Приобретайте эту книгу и начните систематическую подготовку к экзамену уже сегодня!" У нас на сайте с учебниками - ОГЭ-гиа-егэ-впр-варианты.ком школьники также найдут много других учебных материалов и книг (не pdf, пдф) для онлайн подготовки к экзаменам в 9-11 классах. Учебное пособие дает много ответов на сложные вопросы, но не считается ГДЗ (решебником).

ИКТ - Информационно-коммуникационные технологии:

Страница №: стр.1 | стр.2 | стр.3 | стр.4 | стр.5 | стр.6 | стр.7; стр.8 | стр.9 | стр.10 | стр.11 | стр.12 | стр.13 | стр.14.